TECH-MARKET
공급기술과 수요기술의 매칭의 장
문의처 ㅣ 제이엔피글로벌 전혜인 주임 / E-MAIL : hyeinjeon99@jnp-aventures.com
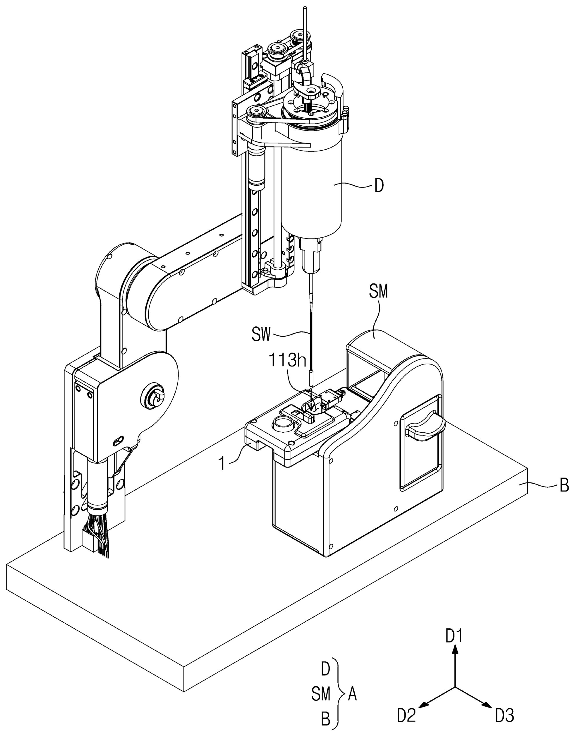
(한국과학기술연구원) 스왑 밀봉 메커니즘, 이를 포함하는 비강 검체 추출 시스템 및 이를 이용한 비강 검체 추출 방법
작성자
관리자
작성일
2026-03-05 15:08
조회
56


(주)제이엔피글로벌
대표이사 : 박지환 | 중소벤처기업부 액셀러레이터 등록번호 : 제2017-49호 | 중소기업상담회사 등록번호 : 제 2016-551호
본사 : 대전광역시 유성구 궁동로2번길 81, 대전 스타트업파크 본부 305호
지사 : 세종특별자치시 나성로 125-4, 세종엔에스타워2 305호
청년창업사관학교 : 대전광역시 대덕구 한남로 70, 캠퍼스혁신파크 B동 2층 (한남대학교)
대덕특구 창업보육센터 : 대전광역시 유성구 엑스포로 446번길 38-302호
T. 042-487-6481 F. 042-826-6481 E. jnp@jnp-aventures.com
copyright © JNP-AVENTURES Co. Ltd. All rights reserved.
제 1조 목적
본 이용약관은 주식회사 제이엔피글로벌(이하 “회사”)가 인터넷 서비스 사이트 (이하 “사이트”)에서 제공하는 서비스 및 기타 정보 서비스(이하 “서비스”라고 합니다)와 관련하여 “회사”와 “회원”간의 권리 · 의무 및 책임사항을 규정함을 목적으로 합니다.
제 2조 용어의 정의
본 약관에서 사용하는 주요한 용어의 정의는 다음 각 호와 같으며, 정의되지 않은 용어에 대한 해석은 관계법령 및 서비스별 안내에서 정하는 바에 따릅니다.
“회사”라 함은 주식회사 제이엔피글로벌을 말합니다.
사이트: 인터넷 서비스 사이트 https://www.jnp-aventures.com/investment/을말합니다.
회원 : 사이트의 약관에 동의하고 개인정보를 제공하여 회원등록을 한 자로서, 사이트와의 이용계약을 체결하고 사이트를 이용하는 이용자를 말합니다. “회원”은 다음 각 호와 같이 구분합니다.
1.“일반회원”: “일반회원”이라 함은 “회사”가 운영하는 사이트에 개인정보를 제공하여 “회원” 등록을 한 자로서, 계속적으로 “회사”의 서비스를 제공받으며 이용할 수 있는 자를 말합니다.
2.“리드엔젤”(업무집행조합원): “리드엔젤”(업무집행조합원)이라 함은 “회사”가 운영하는 사이트에서 개인정보, 전문투자자격 등을 제공하여 “회원” 등록을 한 자로서, 자본시장과 금융투자업에 관한 법률에 따른 전문투자자로 “회사”가 확인하여 “회원”자격을 승인한 뒤, 계속적으로 “회사”의 서비스를 제공받으며 이용할 수 있는 자를 말합니다.
“서비스”라 함은 접속 가능한 유/무선 단말기의 종류와 상관없이 이용자가 접근, 이용할 수 있는 “회사”가 제공하는 서비스로, “회원”이 스타트업에 투자를 위하려 정보를 확인할 수 있는 플랫폼 서비스를 의미합니다. 회사는 스타트업이나 리드엔젤이 올린 정보를 1차 스크린닝하여 사이트에 게재하나, 해당 정보가 정확한지 확인하여 투자를 할 책임은 회원에게 있습니다. 또한 회원의 종류에 따라 공개되는 정보에 차등이 있습니다.
이용계약 : 사이트 이용과 관련하여 사이트와 회원간에 체결 하는 계약을 말합니다.
회원 아이디(이하 “ID”) : 회원의 식별과 회원의 서비스 이용을 위하여 회원별로 부여하는 고유한 문자와 숫자의 조합을 말합니다.
비밀번호 : 회원이 부여받은 ID와 일치된 회원임을 확인하고 회원의 권익 보호를 위하여 회원이 선정한 문자와 숫자의 조합을 말합니다.
해지 : 회원이 이용계약을 해약하는 것을 말합니다.
제3조 약관 등의 명시와 설명 및 개정
① “회사”는 이 약관의 내용과 상호, 대표자 성명, 회사 소재지, 사업자등록번호, 개인정보관리책임자 등을 “회원”이 쉽게 알 수 있도록 “사이트”의 초기 서비스 화면에 게시합니다. 다만, 약관의 내용은 “회원”이 연결화면을 통하여 볼 수 있도록 할 수 있습니다.
② “회사”는 전자상거래 등에서의 소비자 보호에 관한 법률, 약관의 규제에 관한 법률, 전자거래기본법, 전자서명법, 정보통신망이용촉진등에 관한 법률, 소비자 보호법, 등 관련법을 위배하지 않는 범위에서 이 약관을 개정할 수 있습니다.
③ “회사”가 이 약관을 개정할 경우에는 적용일자 및 개정사유를 명시하여 현행 약관과 함께 “사이트”의 초기화면에 그 적용일자 7일 이전부터 적용일자 전일까지 공지합니다. 다만, “회원”에게 불리하게 이 약관의 내용을 변경하는 경우에는 최소한 30일 이상의 사전 유예기간을 두고 공지합니다. 이 경우 “회사”는 개정 전 내용과 개정 후 내용을 명확하게 비교하여 “회원”이 알기 쉽도록 표시합니다. 단, “회원”의 연락처 미기재, 변경 후 미 수정등으로 인하여 개별 통지가 어려운 경우에 한하여 서비스 내의 공지사항 게시판에 공지를 함으로써 개별 통지한 것으로 간주됩니다.
④ “회원”은 “회사”가 전항에 따라 변경하는 약관에 동의하지 않을 권리가 있으며, 이 경우 “회사”에서 제공하는 서비스 이용 중단 및 탈퇴 의사를 표시하고 서비스 이용 종료를 요청 할 수 있습니다. 다만, “회사”가 “회원”에게 변경 약관 내용을 통보하면서 약관 변경 적용일까지 거부 의사표시를 하지 아니한 경우 “회원”가 변경된 약관에 동의하는 것으로 봅니다.
⑤ 이 약관에서 정하지 아니한 사항에 관하여는 “사이트”에 게재하는 기타의 약관, 전기통신사업법, 전자서명법, 정보통신망이용촉진 등에 관한 법률, , 약관의 규제 등에 관한 법률, 공정거래위원회가 정하는 전자상거래 등에서의 소비자 보호지침 등의 관계법령 또는 상 관례에 따릅니다.
제 4조 계약의 성립요건
이용계약은 회원으로 등록하여 사이트를 이용하려는 자의 본 약관 내용에 대한 동의와 가입신청에 대하여 회사의 이용승낙으로 성립합니다.
회원으로 등록하여 서비스를 이용하려는 자는 사이트 가입신청 시 본 약관을 읽고 아래에 있는 “이용약관 동의”의 체크박스를 선택하는 것으로 본 약관에 대한 동의 의사 표시를 합니다.
제 5조 서비스 이용 신청
회원으로 등록하여 사이트를 이용하려는 이용자는 사이트에서 요청하는 제반정보(이용자ID,비밀번호 등)를 제공해야 합니다.
타인의 정보를 도용하거나 허위의 정보를 등록하는 등 본인의 진정한 정보를 등록하지 않은 회원은 사이트 이용과 관련하여 아무런 권리를 주장할 수 없으며, 관계 법령에 따라 처벌받을 수 있습니다.
제 6조 개인정보처리방침
사이트 및 회사는 회원가입 시 제공한 개인정보 중 비밀번호를 가지고 있지 않으며 이와 관련된 부분은 사이트의 개인정보처리방침을 따릅니다.
회사는 관계 법령이 정하는 바에 따라 회원등록정보를 포함한 회원의 개인정보를 보호하기 위하여 노력합니다.
회원의 개인정보보호에 관하여 관계법령 및 사이트가 정하는 개인정보처리방침에 정한 바에 따릅니다.
단, 회원의 귀책 사유로 인해 노출된 정보에 대해 회사는 일체의 책임을 지지 않습니다
회사는 회원이 미풍양속에 저해되거나 국가안보에 위배되는 게시물 등 위법한 게시물을 등록 배포할 경우 관련 기관의 요청이 있을 시 회원의 자료를 열람 및 해당 자료를 관련 기관에 제출할 수 있습니다.
제 7조 회사의 의무
회사는 이용회원으로부터 제기되는 의견이나 불만이 정당하다고 인정할 경우에는 가급적 빨리 처리하여야 합니다. 다만, 개인적인 사정으로 신속한 처리가 곤란한 경우에는 사후에 공지 또는 이용회원에게 쪽지, 전자우편 등을 보내는 등 최선을 다합니다
회사는 계속적이고 안정적인 사이트 제공을 위하여 설비에 장애가 생기거나 유실된 때에는 이를 지체 없이 수리 또는 복구할 수 있도록 사이트에 요구할 수 있습니다. 다만, 천재지변 또는 사이트나 회사에 부득이한 사유가 있는 경우, 사이트 운영을 일시 정지할 수 있습니다.
제 8조 회원의 의무
회원은 본 약관에서 규정하는 사항과 회사가 정한 제반 규정, 공지사항 및 운영정책 등 사이트가 공지하는 사항 및 관계 법령을 준수하여야 하며, 기타 사이트의 업무에 방해가 되는 행위, 사이트의 명예를 손상하는 행위를 해서는 안 됩니다.
회원은 사이트의 명시적 동의가 없는 한 서비스의 이용 권한, 기타 이용계약상 지위를 타인에게 양도, 증여할 수 없으며, 이를 담보로 제공할 수 없습니다.
이용고객은 아이디 및 비밀번호 관리에 상당한 주의를 기울여야 하며, 회사나 사이트의 동의 없이 제3자에게 아이디를 제공하여 이용하게 할 수 없습니다.
회원은 회사와 사이트 및 제3자의 지적 재산권을 침해해서는 안 됩니다.
제 9조 서비스 이용 시간
서비스 이용 시간은 업무상 또는 기술상 특별한 지장이 없는 한 연중무휴 1일 24시간을 원칙으로 합니다. 단, 사이트는 시스템 정기점검, 증설 및 교체를 위해 사이트가 정한 날이나 시간에 서비스를 일시중단 할 수 있으며 예정된 작업으로 인한 서비스 일시 중단은 사이트의 홈페이지에 사전에 공지하오니 수시로 참고하시길 바랍니다.
단, 사이트는 다음 경우에 대하여 사전 공지나 예고 없이 서비스를 일시적 혹은 영구적으로 중단할 수 있습니다.
긴급한 시스템 점검, 증설, 교체, 고장 혹은 오동작을 일으키는 경우
국가비상사태, 정전, 천재지변 등의 불가항력적인 사유가 있는 경우
전기통신사업법에 규정된 기간통신사업자가 전기통신 서비스를 중지한 경우
서비스 이용의 폭주 등으로 정상적인 서비스 이용에 지장이 있는 경우
③ 전항에 의한 서비스 중단의 경우 사이트는 사전에 공지사항 등을 통하여 회원에게 통지합니다. 단, 사이트가 통제할 수 없는 사유로 발생한 서비스의 중단에 대하여 사전공지가 불가능한 경우에는 사후공지로 대신합니다.
제 10조 서비스 이용 해지
회원이 사이트와의 이용계약을 해지하고자 하는 경우에는 회원 본인이 온라인을 통하여 이메일을 통해 회사에게 등록해지 신청을 하여야 합니다. 한편, 사이트 이용 해지와 별개로 사이트에 대한 이용계약 해지는 별도로 하셔야 합니다.
해지 신청과 동시에 사이트가 제공하는 사이트 관련 프로그램이 회원 관리 화면에서 자동적으로 삭제됨으로 회사는 더 이상 해지 신청자의 정보를 볼 수 없습니다.
제 11조 서비스 이용 제한
회원은 다음 각호에 해당하는 행위를 하여서는 아니 되며 해당 행위를 한 경우에 사이트는 회원의 서비스 이용 제한 및 적법한 조치를 할 수 있으며 이용계약을 해지하거나 기간을 정하여 서비스를 중지할 수 있습니다.
회원 가입시 혹은 가입 후 정보 변경 시 허위 내용을 등록하는 행위
타인의 사이트 이용을 방해하거나 정보를 도용하는 행위
사이트의 운영진, 직원 또는 관계자를 사칭하는 행위
사이트, 기타 제3자의 인격권 또는 지적재산권을 침해하거나 업무를 방해하는 행위
다른 회원의 ID를 부정하게 사용하는 행위
다른 회원에 대한 개인정보를 그 동의 없이 수집, 저장, 공개하는 행위
범죄와 결부된다고 객관적으로 판단되는 행위
기타 관련 법령에 위배되는 행위
제 12조 게시물의 관리
사이트의 게시물과 자료의 관리 및 운영의 책임은 회사에게 있습니다. 회사는 항상 불량 게시물 및 자료에 대하여 모니터링을 하여야 하며, 불량 게시물 및 자료를 발견하거나 신고를 받으면 해당 게시물 및 자료를 삭제하고 이를 등록한 회원에게 주의를 주어야 합니다. 한편, 이용회원이 올린 게시물에 대해서는 게시자 본인에게 책임이 있으니 회원 스스로 본 이용약관에서 위배되는 게시물은 게재해서는 안 됩니다.
정보통신윤리위원회 등 공공기관의 시정요구가 있는 경우 회사는 회원의 사전동의 없이 게시물을 삭제하거나 이동할 수 있습니다.
불량게시물의 판단기준은 다음과 같습니다.
다른 회원 또는 제3자에게 심한 모욕을 주거나 명예를 손상하는 내용인 경우
공공질서 및 미풍양속에 위반되는 내용을 유포하거나 링크 시키는 경우
불법 복제 또는 해킹을 조장하는 내용인 경우
영리를 목적으로 하는 광고일 경우
범죄와 결부된다고 객관적으로 인정되는 내용일 경우
다른 이용자 또는 제3자와 저작권 등 기타 권리를 침해하는 경우
사이트에서 각 게시물 영역별 정의한 기준 이외의 내용을 게시한 경우
기타 관계 법령에 위배된다고 판단되는 경우
④ 사이트 및 회사는 게시물 등에 대하여 제3자로부터 명예훼손, 지적재산권 등의 권리 침해를 이유로 게시중단 요청을 받은 경우 이를 임시로 게시 중단(전송중단)할 수 있으며, 게시중단 요청자와 게시물 등록자 간에 소송, 합의 기타 이에 준하는 관련 기관의 결정 등이 이루어져 사이트에 접수된 경우 이에 따릅니다.
제 13조 게시물의 보관
사이트 회사가 불가피한 사정으로 본 사이트를 중단하게 될 경우, 회원에게 사전 공지를 하고 게시물의 이전이 쉽도록 모든 조치를 하기 위해 노력합니다.
제 14조 게시물에 대한 저작권
회원이 사이트 내에 게시한 게시물의 저작권은 게시한 회원에게 귀속됩니다. 또한 사이트는 게시자의 동의 없이 게시물을 상업적으로 이용할 수 없습니다. 다만 비영리 목적인 경우는 그러하지 아니하며, 또한 서비스 내의 게재권을 갖습니다.
회원은 서비스를 이용하여 취득한 정보를 임의 가공, 판매하는 행위 등 서비스에 게재된 자료를 상업적으로 사용할 수 없습니다.
회사는 회원이 게시하거나 등록하는 사이트 내의 내용물, 게시 내용에 대해 제12조 각호에 해당한다고 판단되는 경우 사전통지 없이 삭제하거나 이동 또는 등록 거부할 수 있습니다.
제 15조 손해배상
회사는 회원이 사이트에 올린 정보에 대한 책임을 지지 아니하며, 따라서 회원이 정보의 분석과 투자에 대한 전적인 책임을 집니다. 즉 회원이 본 사이트를 이용 또는 관련하여 투자하면서 발생한 모든 책임(투자위험, 민, 형사책임을 포함하나 이에 한정되지 않음)은 회원 본인에게 있습니다
본 사이트로부터 회원이 받은 손해가 천재지변 등 불가항력적이거나 회원의 고의 또는 과실로 인하여 발생한 때에는 손해배상을 하지 않습니다.
제 16조 면책
회사는 회원이 사이트의 서비스 제공으로부터 기대되는 이익을 얻지 못하였거나 서비스 자료에 대한 취사선택 또는 이용으로 발생하는 손해 등에 대해서는 책임을 지지 않습니다.
회사는 본 사이트의 서비스 기반 및 타 통신업자가 제공하는 전기통신 서비스의 장애로 인한 경우에는 책임이 면제되며 본 사이트의 서비스 기반과 관련되어 발생한 손해에 대해서는 사이트의 이용약관에 준합니다.
회사는 회원이 저장, 게시 또는 전송한 자료와 관련하여 일체의 책임을 지지 않습니다.
회사는 회원의 귀책 사유로 인하여 서비스 이용의 장애가 발생한 경우에는 책임지지 아니합니다.
회사는 회원 상호 간 또는 회원과 제3자 상호 간, 기타 회원의 본 서비스 내외를 불문한 일체의 활동(데이터 전송, 투자 청약서 교부, 기타 커뮤니티 활동 포함)에 대하여 책임을 지지 않습니다.
회사는 회원이 게시 또는 전송한 자료 및 본 사이트로 회원이 제공받을 수 있는 모든 자료들의 진위, 신뢰도, 정확성 등 그 내용에 대해서는 책임지지 아니합니다.
회사는 회원 상호 간 또는 회원과 제3자 상호 간에 서비스를 매개로 하여 물품거래 등을 한 경우에 그로부터 발생하는 일체의 손해에 대하여 책임지지 아니합니다.
회사는 회사의 귀책 사유 없이 회원간 또는 회원과 제3자간에 발생한 일체의 분쟁에 대하여 책임지지 아니합니다.
회사는 서버 등 설비의 관리, 점검, 보수, 교체 과정 또는 소프트웨어의 운용 과정에서 고의 또는 고의에 준하는 중대한 과실 없이 발생할 수 있는 시스템의 장애, 제3자의 공격으로 인한 시스템의 장애, 국내외의 저명한 연구기관이나 보안 관련 업체에 의해 대응 방법이 개발되지 아니한 컴퓨터 바이러스 등의 유포나 기타 회사가 통제할 수 없는 불가항력적 사유로 인한 회원의 손해에 대하여 책임지지 않습니다.
제 17조 분쟁해결
“회사”는 “회원”으로부터 제출되는 불만사항 및 의견은 우선적으로 그 사항을 처리합니다. 다만, 신속한 처리가 곤란한 경우에는 “회원”에게 그 사유와 처리일정을 즉시 통보합니다.
이 약관은 대한민국의 법령에 따라 해석됩니다.
이 약관에서 명시되거나 명시되지 않은 사항의 해석에 관하여 “회사”와 “회원” 사이에 이의 또는 분쟁이 있는 경우 상호 협의로 원만히 해결하되, 합의가 되지 않는 경우에는 민사소송법에 따라 관할법원을 정하여 소송으로 해결합니다. 소송 절차와 관련한 문제는 대한민국의 법령이 정하는 바에 따릅니다.
주식회사 제이엔피글로벌은 고객의 정보를 소중하게 생각하며, ‘정보통신망 이용 촉진 및 정보보호 등에 관한 법률’, ‘개인정보보호법’ 등 개인정보보호법령을 철저히 준수합니다.
주식회사 제이엔피글로벌은 아래와 같은 [개인정보 처리방침]을 제정하고 이를 준수합니다. 또한, 본 개인정보 처리방침은 개인정보와 관련한 법령의 변경이 있는 경우 또는 주식회사 제이엔피글로벌의 정책 변경 등의 이유로 변경될 수 있습니다. 고객 여러분들께서는 주식회사 제이엔피글로벌이 제공하는 사이트 방문 시 개인정보 처리방침을 수시로 확인하여 주시기 바랍니다.
고객은 사이트 회원 가입 시, 개인정보를 입력합니다. 해당 입력은 주식회사 제이엔피글로벌이 회원을 식별하는데 사용되며 개인정보 입력 시, 이에 동의한 것으로 간주합니다. 주식회사 제이엔피글로벌은 다음의 목적을 위하여 개인정보를 처리하고 있으며, 다음의 목적 이외의 용도로는 이용하지 않습니다. – 고객 가입의사 확인, 고객에 대한 서비스 제공에 따른 본인 식별.인증, 회원자격 유지.관리, 서비스 이용 및 상담, 공지사항 전달, 서비스 공급에 따른 금액 결제, 서비스의 공급, 금융상품 연계서비스 제공 등
회사는 이미 동의한 개인의 수집과 이용에 대하여 ⌜탈퇴⌟ 기능을 제공함으로써 언제든지 삭제할 수 있는 방법을 제공하고 있습니다. 만약, 주식회사 제이엔피글로벌의 회원을 탈퇴하는 경우에는 해당 서비스의 이용은 불가능합니다.
주식회사 제이엔피글로벌은 정보 주체로부터 개인정보를 수집할 때 동의 받은 개인정보 보유 및 이용기간 또는 법령에 따른 개인정보 보유 및 이용기간 내에서 개인정보를 처리, 보유합니다. 고객의 개인정보는 회원탈퇴 등 수집 및 이용목적이 달성되거나 동의 철회 요청이 있는 경우 지체없이 파기됩니다. 단, 「전자상거래 등에서의 소비자보호에 관한 법률」 등 관련법령의 규정에 의하여 다음과 같이 거래 관련 권리 의무 관계의 확인 등을 이유로 일정기간 보유하여야 할 필요가 있을 경우에는 그 기간 동안 보유합니다.
가. 「전자상거래 등에서의 소비자보호에 관한 법률」 제6조
계약 또는 청약 철회 등에 관한 기록 : 5년
대금결재 및 재화 등의 공급에 관한 기록 : 5년
소비자의 불만 또는 분쟁처리에 관한 기록 : 3년
나. 「통신비밀보호법」 제15조
방문(로그)에 관한 기록: 1년
다. 기타 관련 법령 등
회사의 개인정보 파기 방법은 다음과 같습니다
가. 파기 절차
① 회원가입 등을 위해 입력한 정보는 목적이 달성된 후 홈페이지 내 DB로 옮겨져 내부 방침 및 기타 관련 법령에 의한 일정 기간 저장된 후 파기됩니다.
② 동 개인정보는 법률에 의한 경우가 아니고서는 보유되는 이외의 다른 목적으로 이용되지 않습니다.
나. 파기 방법
① 전자적 파일 형태로 저장된 개인정보는 기록을 재생할 수 없는 기술적 방법을 사용하여 삭제합니다.
② 종이에 출력된 개인정보가 있는 경우 분쇄기로 분쇄하거나 소각을 통하여 파기합니다.
주식회사 제이엔피글로벌은 다음의 개인정보 항목을 처리하고 있습니다.
가. 회사는 고객이 회원가입을 위해 작성한 개인정보를 수집하여 사이트를 운영하는데 사용합니다.
나. 회사는 다음과 같은 방법으로 개인정보를 수집합니다.
– 가입 및 서비스 이용과정에서 고객이 직접 정보를 입력하는 경우
– 고객센터를 통한 문의 과정에서 웹페이지, 전화, 메일, 팩스, 서면 등에서 입력할 경우
주식회사 제이엔피글로벌은 고객의 개인정보를 “제1조 개인정보의 수집항목 및 이용목적 “에서 고지한 범위를 넘어 이용하거나 타인 또는 타기업, 기관에 제공하지 않습니다. (정보주체의 동의, 법률의 특별한 규정 등 개인정보보호법 제17조 및 제18조에 해당하는 경우에는 개인정보를 제3자에게 제공할 수 있습니다).
단, 다음은 예외로 합니다.
가. 관계법령에 의하여 수사상의 목적으로 관계 기관으로부터의 요구가 있을 경우
나. 통계작성, 학술연구나 시장조사 등을 위하여 특정 개인을 식별할 수 없는 형태로 광고주, 협력사나 연구단체 등에 제공하는 경우
다. 기타 관계법령에서 정한 절차에 따른 요청이 있는 경우
상기사항에 의해 개인정보를 제공하는 경우에도 본래의 수집∙이용 목적에 반하여 무분별하게 정보가 제공되지 않도록 최대한 노력하겠습니다.
[제3자 제공 현황] 현재 없음
회사는 더 나은 서비스를 제공하기 위하여 정보주체의 개인정보 처리를 외부전문기관에 위탁할 수 있습니다.
가. 회사는 개인정보 처리를 위탁하는 경우 위탁하는 업무의 내용과 수탁자를 정보주체가 언제든지 쉽게 확인할 수 있도록 회사의 인터넷 홈페이지에 지속적으로 게재하여 공개합니다. 특히, 회사가 재화 또는 서비스를 홍보하거나 판매를 권유하는 업무를 위탁하는 경우에는 서면, 전자우편, 팩스, 전화, 문자전송 또는 이에 상당하는 방법(이하 “서면 등의 방법”이라 합니다)으로 위탁하는 업무의 내용과 수탁자를 정보주체에게 알려드립니다. 위탁하는 업무의 내용이나 수탁자가 변경된 경우에도 동일합니다. 만약, 회사가 과실 없이 서면 등의 방법으로 정보주체에게 알릴 수 없는 경우에는 해당 사항을 인터넷 홈페이지에 30일 이상 게재합니다.
나. 회사는 수탁자에게 다음의 내용이 포함된 문서에 의하여 개인정보의 처리 업무를 위탁하고 있으며, 당해 문서를 서면 또는 전자적으로 보관하여 정보주체의 권익을 보호합니다.
위탁업무의 목적 및 범위
위탁업무 수행 목적 외 개인정보의 처리 금지에 관한 사항
재위탁 제한에 관한 사항
개인정보의 기술적·관리적 보호조치에 관한 사항
개인정보에 대한 접근 권한 등 안전성 확보 조치에 관한 사항
위탁업무와 관련하여 보유하고 있는 개인정보의 관리 현황 점검 등 감독에 관한 사항
수탁자가 준수하여야 할 의무를 위반한 경우의 손해배상 등에 관한 사항
[취급위탁현황] 현재 없음
고객은 개인정보주체로써 다음과 같은 권리를 행사할 수 있습니다.
① 정보주체는 주식회사 제이엔피글로벌에 대해 언제든지 다음 각 호의 개인정보 보호 관련 권리를 행사할 수 있습니다.
가. 개인정보 열람요구
나. 오류 등이 있을 경우 정정 요구
다. 삭제요구
라. 처리정지 요구
② 개인정보 열람 및 정정을 하고자 할 경우에는 고객센터로 서면, 전화 또는 이메일로 연락하시면 지체 없이 조치하겠습니다. 또한, 회원가입 등을 통해 개인정보의 수집, 이용, 제공에 대해 고객께서 동의하신 내용을 고객께서는 언제든지 철회하실 수 있습니다. 동의 철회를 하고 개인정보를 파기하는 등의 조치를 취한 경우에는 그 사실을 고객께 지체 없이 통지하도록 하겠습니다.
① 회사는 개별적인 맞춤서비스를 제공하기 위해 이용정보를 저장하고 수시로 불러오는 ‘쿠키(cookie)’를 사용합니다.
② 쿠키는 웹사이트를 운영하는데 이용되는 서버(http)가 이용자의 컴퓨터 브라우저에게 보내는 소량의 정보이며 이용자들의 PC 컴퓨터내의 하드디스크에 저장되기도 합니다.
가. 쿠키의 사용 목적 : 이용자가 방문한 각 서비스와 웹 사이트들에 대한 방문 및 이용형태, 인기 검색어, 보안접속 여부, 등을 파악하여 이용자에게 최적화된 정보 제공을 위해 사용됩니다.
나. 쿠키의 설치•운영 및 거부 : 웹브라우저 상단의 도구>인터넷 옵션>개인정보 메뉴의 옵션 설정을 통해 쿠키 저장을 거부 할 수 있습니다.
다. 쿠키 저장을 거부할 경우 맞춤형 서비스 이용에 어려움이 발생할 수 있습니다.
회사는 개인정보보호법 제29조에 따라 다음과 같이 안전성 확보에 필요한 기술적/관리적 조치를 하고 있습니다.
① 기술적 대책
회사는 개인정보처리시스템 등의 접근권한 관리를 통해 외부로부터의 무단 접근을 통제하고 있으며, 중요 데이터는 저장 및 전송시 암호화하여 사용하는 등 안전하게 저장•관리하고 있습니다.
회사는 해킹이나 악성코드 등에 의한 개인정보 유출 및 훼손을 방지하기 위하여 보안프로그램을 주기적으로 갱신•점검하고 있습니다.
회사는 결제 등의 경우에 있어 네트워크상에서 개인정보를 안전하게 전송할 수 있도록 보안장치를 채택하고 있습니다.
회사는 해킹 등에 의한 정보의 유출을 방지하기 위해 침입차단시스템(방화벽)을 이용하여 외부로부터의 무단 접근을 통제하고 있으며, 기타 시스템적인 보안성을 확보하기 위해 가능한 모든 기술적 장치를 갖추려 노력하고 있습니다.
② 관리적 대책
회사는 회원 본인의 비밀번호 요청 등에 의해 개인정보를 다룰 때 가능한 최선의 방법으로 본인임을 확인하고 안전하게 정보가 처리될 수 있도록 최선을 다합니다.
회사는 개인정보에 대한 접근권한을 개인정보관리책임자 등 개인정보관리업무를 수행하는 자, 기타 업무상 개인정보의 취급이 불가피한 자로 제한하며, 개인정보를 취급하는 직원에 대한 수시 교육을 통하여 개인정보취급방침의 준수를 항상 강조하고 있습니다.
회사의 안정성 확보 조치 이외에 회원은 아이디와 비밀번호 등 개인정보가 인터넷 상에 노출되거나 타인에게 유출되지 않도록 주의하여야 합니다. 회원 본인의 부주의나 관리소홀로 아이디와 비밀번호 등 개인정보가 유출되었다면 이에 대해서 회사는 책임을 지지 않습니다.
고객님의 개인정보를 최신의 상태로 정확하게 입력하여 불의의 사고를 예방해 주시기 바랍니다. 입력한 부정확한 정보로 인해 발생하는 사고의 책임은 이용자 자신에게 있으며 타인 정보의 도용 등 허위정보를 입력할 경우 회사 회원자격이 상실되거나 회사 홈페이지 이용이 정지될 수 있습니다.
이용자 개인정보와 관련한 아이디(ID)의 비밀번호에 대한 보안유지책임은 해당 이용자 자신에게 있습니다. 회사는 비밀번호에 대해 어떠한 방법으로도 이용자에게 직접적으로 질문하는 경우는 없으므로 타인에게 비밀번호가 유출되지 않도록 각별히 주의하시기 바랍니다.
고객님은 개인정보를 보호받을 권리와 함께 스스로를 보호하고 타인의 정보를 침해하지 않을 의무도 가지고 있습니다. 게시물을 포함한 타인의 개인정보를 훼손하지 않도록 유의해 주십시오.
만약 이 같은 책임을 다하지 못하고 타인의 정보를 훼손할 시에는 관계 법령 등에 의해 처벌받을 수 있습니다. 특히, 공공장소에서 온라인상에서 접속해 있을 경우에는 더욱 유의하셔야 합니다.
① 이 개인정보처리방침은 시행일로부터 적용되며, 법령 및 방침에 따른 변경내용의 추가, 삭제 및 정정이 있는 경우에는 변경사항의 시행 7일 전부터 공지사항을 통하여 고지할 것입니다. 다만, 수집하는 개인정보의 항목, 이용목적의 변경 등과 같이 이용자 권리의 중대한 변경이 발생할 때에는 최소 30일 전에 미리 알려드리겠습니다.
이 개인정보 처리방침의 공고 및 시행일자는 아래와 같습니다.
공고일자 : 2023. 4. 7.
시행일자 : 2023. 4. 10
회원이 본 개정에 이의가 있을 경우 본 고지를 받은 날로부터 1개월 이내에 회원탈퇴를 요청할 수 있습니다. 해당기간 안에 별도 의사표시가 없는 경우 개정에 동의한 것으로 간주합니다.